Nákladní automobil o čtyřech hnacích kolech.
Francouzská továrna na automobily Panhard a Levassor zkonstruovala před krátkým časem nový typ nákladního automobilu, který se vyznačuje některými úplně novými disposicemi.
V tomto článku chceme s o něm zmínit pouze stručně, pokud tomu dovolí dosavadní naše informace; podrobnější popis pak ponecháváme si do některého z čísel příštích, až budou známy některé konstruktivní detaily.
Jsa určen jako vlečný automobil (tracteur) k dopravě těžkých nákladů po cestách s hojnými zatáčkami o velmi malých poloměrech křivosti, byl automobil tento opatřen čtyřmi koly vesměs poháněnými a současně i řídicími. Tím dosaženo toho, že adhaesní váha jeho jest krajně zužitkována a že při zatáčení může opisovat dráhu mnohem menšího poloměru, než jak tomu je pouze při řídicích kolech předních.
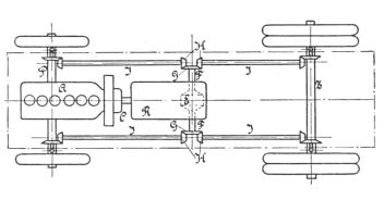
Řízení automobilu jest uspořádáno tak, že obě kola na téže straně vozu mohou býti pootočena o týž úhel, a to symetricky k ose, jdoucí přibližně příční osou differenciálu E (obr. 2.); následkem toho jdou zadní kola při zatáčení přesně ve stopě kol předních, vykonají tudíž obě kola touž dráhu a tím je možno upotřebit jen jediného differenciálu E, který vyrovnává pak pouze nestejnost pohybu kol po jedné straně oproti kolům po straně druhé. Tedy jediný differenciál a všechna kola hnací a současně i řídicí jsou charakteristické znaky tohoto tracteuru.
Motor A, který má šest (obr. 2.) válců o vrtání 100 m a zdvihu 140 mm, dává při 1000 obrátkách v minutě 35 HP a 45 HP při 1400 obrátkách. S rychlostní skřínkou R je spojen lamelovou spojkou C. Převody kol v rychlostní skřínce R umožňují čtyři rychlosti, a to: 2.8, 7, 12.6 a 19.3 km v hodině při 1000 obrátkách motoru, a kromě toho rychlost zpětnou.
Differenciálem E, který tvoři s rychlostní skřínkou R jeden celek, přenáší se pohyb na příčný hřídel F, který nese po obou koncích kuželová kola G. Do každého z těchto kol zabírají dvě kola H, naklínovaná na hřídelích J, kteréžto hřídele, celkem čtyři, vedou ke čtyřem kolům hnacím a těm předávají pohyb svůj opět prostřednictvím kuželových kol.
S hnacích kol přenáší se tažná síla na rám automobilu čtyřmi táhly (po případě vzpěrami), dvěma pro každou nápravu. Táhla jsou připojena jedním koncem k nápravám kol P a Z, druhým koncem však jsou uložena na čepu, který jest souosý s příčnou osou F differenciálu, a mohou kolem tohoto čepu kývat.
Tím způsobem jsou obě nápravy kol, přední i zadní, drženy neustále v téže vzdálenosti od poháněcího hřídele F differenciálu. Uspořádání toto je nutné k zachování správného záběru kuželových kol, spojených s podélnými hřídeli J, který by se jinak při pružení vozu porušil.
Kola hnací jsou z lité oceli a opatřena plnými gumami, které zajišťují v nejpříznivějším případě maximální adhaesi as 0.6 celkové váhy automobilu.
Differenciál jest opatřen zvláštní spojkou, která umožňuje vypnout jej z činnosti. Jak známo totiž, jest účelem differenciálu vyrovnávat rozdíly mezi počty otoček kol pravých a levých, kteréžto rozdíly nutně nastávají následkem nestejných drah, jež obojí kola vykonávají, pohybuje-li se automobil v zatáčce.
Vložením differenciálu zabrání se tak škodlivému smýkání gum nebo pneumatik po zemi a jest tudíž differenciál v tomto směru zařízením úsporným. Mohou nastat však také případy, kdy jest differenciál neprospěšný, a tu pak třeba jej z činnosti vyloučit. Případ takový mohl by nastat na příklad tehdy, kdyby kola po jedné straně vozu počala klouzat, třeba následkem zvýšené kluzkosti půdy, kdežto po druhé straně by se kola opírala o zemi pevně. V tomto případě počalo by se klouzající kolo otáčet opačným směrem, než jak by mělo, a vůz by se s místa nehnul.
Vypneme-li differenciál, stačí obyčejně adhaese kola pevného, aby se celý automobil dostal s nepříjemného místa.
Jiným zařízením, kterým jest tento tracteur vyzbrojen, jest kotouč poháněný zvlášť od motoru a navinující na svůj obvod drátěné lano rychlostí asi 2 km v hodině. Stane-li se, že celý automobil uvízne v změklé půdě, nebo nemůže vyjeti po svahu příliš příkrém, upevní se jeden konec lana k vhodnému pevnému předmětu vzdálenějšímu (na příklad k silnému, stromu), druhým koncem navíjí se pak lano na kotouč a tím způsobem se automobil vytáhne po svahu nahoru, po případě z měkké půdy ven.
Brzdy působí velmi mocně jednak na všecka čtyři kola, jednak na kotouče na hřídeli differenciálu.
Váha plně zatíženého vozu je 6 tun, z nichž 2 tuny jsou užitečný náklad, a jest rozdělena tak, že na přední kola připadá 2500 kg, na zadní 3500 kg. Následkem toho může tracteur vyvinout na pevné drsné půdě tažnou sílu asi 3000 kg. Sám a plně zatížen může stoupat po svahu až 30%, s vlečnými vozy o celkové váze 10 tun pouze 10%. Uspořádáním popsaného již řízení všech kol má tracteur možnost otočití se v půlkruhu o průměru 9 m.
S tracteurem tímto byla vykonána již řada pokusů s těmito výsledky. Pouhý tracteur o váze 5350 kg stoupal se čtvrtou rychlostí svah 4%, s třetí rychlostí svah 8%; po uměle zdrsněné půdě stoupal dokonce svah 28%. S vlečným vozem o váze 6 tun stoupal první rychlostí svah 9%, druhou rychlostí pak svah 4%. Se dvěma vlečnými vozy (každý o váze 5 tun) dosáhl po rovině maximální rychlosti 17 km v hodině a stoupal svah 9%.
Z dat těchto lze usoudit, že továrna Panhard a Levassor postavila stroj pozoruhodný netoliko konstrukcí, ale i dosaženými výsledky.
témata článku:
Diskuze k článku „Historicky první nákladní automobil s pohonem 4x4“
| Další články na podobné téma | ||
|---|---|---|
![]() Zapomenutá historie elektromobilů | ![]() Jak v roce 1898 vypadala buducnost automobilů? | ![]() Jaké to bylo, když se v Praze poprvé objevil automobil? |
| zobrazit více článků... | ||




